工具専科
工具関係の商品の価格比較などを行っています
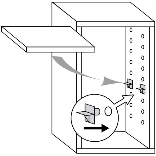
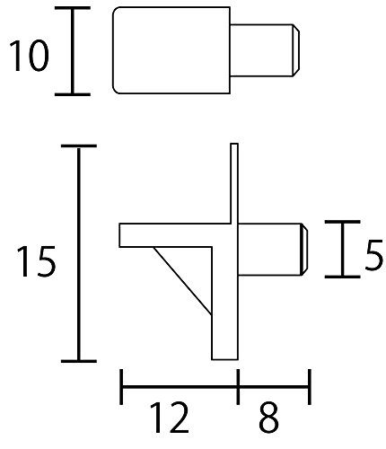
ベスト 棚ダボ 差し込みタイプ 4.8×7ミリ 8個入リ N-249
ベスト
¥-
ベスト 棚ダボ 差し込みタイプ 5.5×8ミリ 8個入リ N-251
¥248
ベスト 棚ダボ 差し込みタイプ 得用 5×7ミリ 40個入リ N-252
¥464
ベスト 棚ダボ ネジ式タイプ 7.5ミリ 4個入リ N-267
ベスト 棚ダボ 差し込みタイプ 3.8×8ミリ 6個入リ N-239
価格情報を取得することができませんでした。 下記のリンクより、キーワードなどでお探しいただけますでしょうか。
楽天市場へ Yahoo!ショッピングへ