- トップ
- >
- エクステリア
- >
- アウトドア・エクステリアライト
- >
- 屋外ウォールライト
- >
- ブラケットライト
東芝ライテック LEDガーデンライト・門柱灯屋外ブラケット ブラック LEDランプ別売り
- メーカー
- 東芝
- ブランド
- 東芝(TOSHIBA)
- JAN
- 4974550551137
- メーカー品番
- LEDG87908L(K)-LS
- メーカー希望小売価格
- ¥26,784
- この商品のレビュー
- Amazonでのレビュー
- シェア
商品説明
LEDG87908LKLS
特記事項
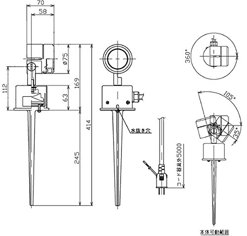
- 径φ7.5 高16.9 出9
- 埋込寸法 : 245mm・消費電力 : 7.8 W・器具光束 : 475 lm・固有エネルギー消費効率 : 61.0 lm/W
- 特記事項 : 可動範囲 (回転角360度 (1回転以内) 首振角140度) 、調光不可
- 機能、特徴 : LED一体形・特徴 (ピクトその他) : 白熱灯器具 60Wクラス、防雨、最低照射面距離0.1m



