Grohe 32138001 CONCETTO single-handleバスルーム蛇口 .375 32138EN1 1
- メーカー
- GROHE
- ブランド
- グローエ(Grohe)
- JAN
- 4005176888861
- メーカー品番
- 32138EN1
- この商品のレビュー
- Amazonでのレビュー
- シェア
商品説明
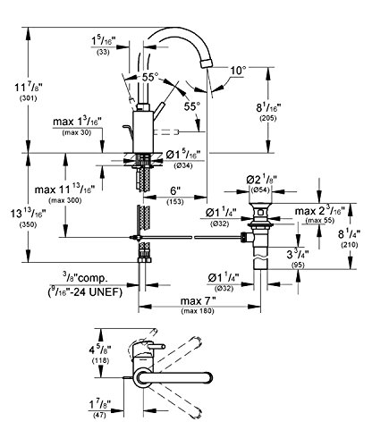
構築されたプロダクト機能が導入されています。蛇口ボディのソリッドブラスの保証の対象とGROHE 39 ; s限られた寿命GROHE蛇口は、排他的に開発したドイツの噴出口の仕上げは、腐食変色日常使用 – 仕上げ保証の対象と生涯ステンレススチール編組柔軟な装置には、1回のハンドル操作によってADA準拠 – 準拠している基準に準拠froth Americans with disabilities ACT浴室蛇口の低リード・準拠(会議の連邦およびSTATの規制のリードの内容によってWaterSense証明書使用してプロダクト – 標準2.2 GPMが少なくとも30 %少ない水栓に取り付け可能、パフォーマンスの厳しいガイドラインに応えると同時に向けに設計された標準のU。S。配管接続製品仕様:全高:測定された11 – 7 / 8 "(カウンターから蛇口の最も高い部分から計測)スパウトの高さ:6インチのカウンタに注ぎ口コンセント)の注ぎ口長さ:6 "(の中心から測定蛇口ベース中心に注ぎ口のコンセント)のインストール・タイプ:単一の穴のインストールに必要な穴の数: 1流量:1.5 GPM(gallons-per-minute )最大デッキ厚さ: 1 – 3 / 16 "カラーのテクノロジー/メリットがあります。Starlight仕上げ:継続的な改善70年間、GROHE独自のめっきプロセスが生成される場合に練り上げられた、光沢面のとして認識された最高の表面仕上げにしています。GROHEプレートサブレイヤの銅および/またはニッケルにふさわしいかどうかは、完全に非浸透性、Immaculateサーフェス待っていクロム画層」を参照してください。でも、この深い多層クロム表面で鏡のような光を作成し、。SilkMoveカートリッジ:当社シングルレバー洗面のリッチ・とスムーズ処理Pureを伝える品質が実現されています。から温度を変更すると冷たい滑らかな1つのセラミックディスク、のために使用して簡単に他のディメンションにまたがる絶対精度を削除します。このようなカートリッジは、ハイテクプロセスであり、機能製でディスクspace-provenして作らセラミック合金



